在鉗盤式制動器中,由工作面積不大的摩擦塊與其金屬背板組成制動塊。每個制動器中一般有2~4塊。這些制動塊及其促動裝置都裝在橫跨制動盤兩側的夾鉗形支架中,稱為制動鉗。鉗盤式制動器散熱能力強,熱穩定性好,故廣泛應用于大多數轎車和輕型貨車上。
鉗盤式制動器按制動鉗的結構型式可分為定鉗盤式和浮鉗盤式兩種。
定鉗盤式制動器
如圖2所示為定鉗盤式制動器的結構示意圖。
制動盤1固定在輪轂上,制動鉗5固定在車橋上,既不能旋轉也不能沿制動盤軸向移動。制動鉗內裝有兩個制動輪缸活塞2,分別壓住制動盤兩側的制動塊3。當駕駛員踩下制動踏板使汽車制動時,來自制動主缸的制動液被壓入制動輪缸,制動輪缸的液壓上升,兩輪缸活塞在液壓作用下移向制動盤,將制動塊壓靠到制動盤上,制動塊夾緊制動盤,產生阻止車輪轉動的摩擦力矩,實現制動。
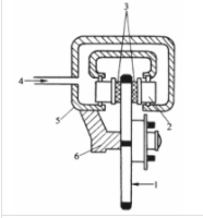
浮鉗盤式制動器
浮鉗盤式制動器的制動鉗是浮動的,可以相對于制動盤軸向移動。如圖3所示為浮鉗盤式制動器的結構示意圖。
制動鉗1一般設計成可以相對于制動盤4軸向移動。在制動盤的內側設有液壓油缸9,外側的固定制動塊5附裝在鉗體上。制動時,制動液被壓入油缸中,在液壓作用下活塞向左移動,推動活動制動塊也向左移動并壓靠到制動盤上,于是制動盤給活塞一個向右的反作用力,使活塞連同制動鉗體整體沿導向銷2向右移動,直到制動盤左側的固定制動塊5也壓到制動盤上。這時兩側制動塊都壓在制動盤上,制動塊夾緊制動盤,產生阻止車輪轉動的摩擦力矩,實現制動。
鉗盤式制動器按制動鉗的結構型式可分為定鉗盤式和浮鉗盤式兩種。
定鉗盤式制動器

如圖2所示為定鉗盤式制動器的結構示意圖。
制動盤1固定在輪轂上,制動鉗5固定在車橋上,既不能旋轉也不能沿制動盤軸向移動。制動鉗內裝有兩個制動輪缸活塞2,分別壓住制動盤兩側的制動塊3。當駕駛員踩下制動踏板使汽車制動時,來自制動主缸的制動液被壓入制動輪缸,制動輪缸的液壓上升,兩輪缸活塞在液壓作用下移向制動盤,將制動塊壓靠到制動盤上,制動塊夾緊制動盤,產生阻止車輪轉動的摩擦力矩,實現制動。
浮鉗盤式制動器
浮鉗盤式制動器的制動鉗是浮動的,可以相對于制動盤軸向移動。如圖3所示為浮鉗盤式制動器的結構示意圖。

制動鉗1一般設計成可以相對于制動盤4軸向移動。在制動盤的內側設有液壓油缸9,外側的固定制動塊5附裝在鉗體上。制動時,制動液被壓入油缸中,在液壓作用下活塞向左移動,推動活動制動塊也向左移動并壓靠到制動盤上,于是制動盤給活塞一個向右的反作用力,使活塞連同制動鉗體整體沿導向銷2向右移動,直到制動盤左側的固定制動塊5也壓到制動盤上。這時兩側制動塊都壓在制動盤上,制動塊夾緊制動盤,產生阻止車輪轉動的摩擦力矩,實現制動。
手機版|
關注公眾號|

下載手機APP

